U.S. Army researchers working at the Combat Capabilities Development Command (CCDC) have patented a small arms suppressor with an integral high-performance muzzle brake. The military is open to licensing the design—nicknamed the "smuzzle"—to commercial manufacturers, which means versions may soon be available on the civilian market.
Efforts to combine a suppressor and muzzle brake began at the CCDC sometime in 2007 and initially focused on taming the bark of a 188 mm howitzer. Using the facility’s computational fluid dynamics modeling system and testing facilities the innovative approach proved equally effective in small arms.
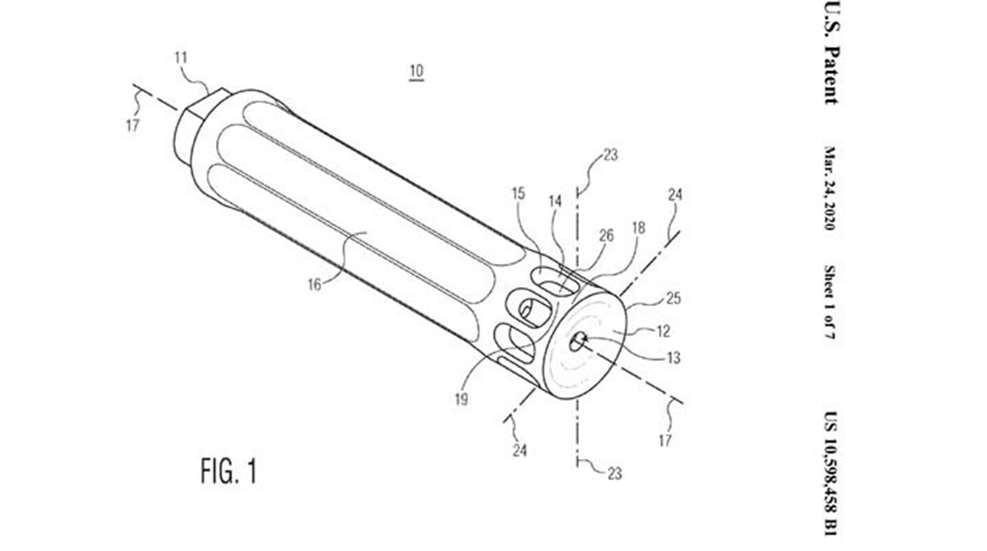
Testing in 7.62 NATO and the military’s new 6.8 mm cartridge has been conducted and results are something once thought impossible in a single muzzle device. The unit provides a significant reduction in perceived recoil, but muzzle flash also went down by 25 percent and audible report was cut in half.
The researchers sent hundreds of rounds through it using an M240B machine gun on full auto. The smuzzle glowed red after the torture but survived the rigorous trial.
“It was designed for automatic and semi-automatic weapons, but it’d be useful for anyone shooting magnum cartridges,” Daniel Cler, suppressor research chief at the CCDC Armaments Center told a reporter for TechLink Center. “It has what you could call a bottom blocker that also reduces how much dust kicks up.”
TechLink is a Department of Defense partnership for technology transfer to the commercial sector. Its mission is to aid companies interested in harnessing unclassified military advances in commercial products.
The first prototypes of the smuzzle were constructed from titanium or Iconel 718 steel. Testing also indicated 3D printing as a viable method of production. The patent for the smuzzle was granted in March, although information about the design has just become public.











